В современных играх распространены разные способы помощи в прохождении. Где-то можно отключить QTE, где-то набивать комбо одной кнопкой, а нередко персонажи сами начинают подсказывать решения к головоломкам. В Sony пошли ещё дальше и запатентовали ИИ-помощника, который способен проходить сложные моменты в играх вместо живого геймера.
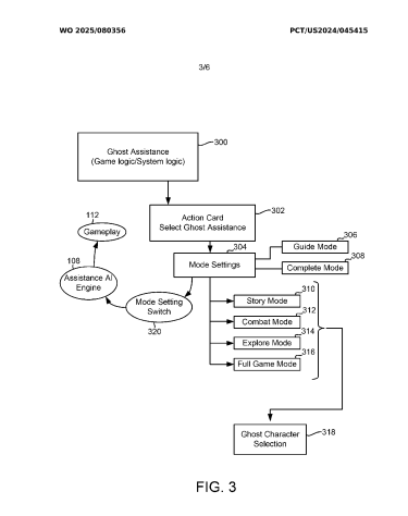
Как идея должна работать: в случае необходимости пользователь может вызвать «игрока-призрака» — ИИ-версию персонажа геймера — и тот пройдёт часть или весь уровень вместо человека.
Например, в Uncharted получится призвать ИИ-вариант Нейтана Дрейка, который продемонстрирует решение загадки в режиме проводника, чтобы человек сам повторил необходимые действия. В альтернативном режиме «призрак» Дрейка пропрыгает по балкам или решит головоломку самостоятельно.

В документе указано, что ИИ-помощник будет натренирован на записях геймплея, а не состоять из заранее записанных вариантов действий. Как подметили в VGC, зарегистрированный патент призрачного помощника развивает идеи «Справки по игре» — опции для PS5, которая содержит полезные видео или скриншоты и помогает продвинуться в игре.
Важно подчеркнуть, что Sony подала заявку на регистрацию патента ещё в сентябре 2024-го, но лишь на прошлой неделе Всемирная организация интеллектуальной собственности опубликовала международный отчёт о состоянии патента.
Пока неизвестно, когда игры на PlayStation начнут играть сами в себя. Есть вероятность, что Sony оформила патент просто для галочки, чтобы этого не сделал кто-то другой. Таких случаев накопилось достаточно (пример, второй пример и ещё пример).
ИИ-помощник — не первый эксперимент Sony в сфере нейросетей. Ранее в Интернет выложили ролик, в котором главная героиня серии Horizon отвечает на вопросы пользователя, касающиеся внутриигрового мира и геймплея, и болтает на отвлечённые темы.

Everyday Digital Spot – Clean pages make discovering products simple and enjoyable
SmartPick Store – Easy navigation and helpful content make finding deals simple
Alright, so I stumbled upon ph7777 the other day. Pretty smooth interface and decent game selection. Could be my new go-to spot ph7777.
Getting logged in to PHJL is super easy. Had no issues at all. That’s always a good sign! Go give it a try phjllogin
Just downloaded the Taya777 APK. Installation was a breeze. Hope the games are as smooth as the download! You should also try taya777 download apk
Kho game khổng lồ hấp dẫn thành viên tham gia tại xn88 chính thức không thể không kể đến dòng nổ hũ với phần thưởng lên tới hàng tỷ đồng. Tại đây có hàng trăm sản phẩm khác nhau với giao diện, cách chơi khác nhau, đưa tới trải nghiệm thú vị, không bao giờ nhàm chán cho thành viên tham gia. TONY03-02
Đặc biệt hơn, 188v đăng nhập còn hợp tác với 24+ NPH Slots khác nhau như: TTG, NETENT, 93 CN, FastSpin, BOLE,… Bạn có thể thử sức với hơn 2.300+ trò chơi quay hũ siêu hot được phát hành mỗi ngày. Tối đa 50 dòng thanh toán có thể giúp bạn hốt về bộn tiền từ game slots. TONY04-01