Sony запатентовала ИИ-помощника, способного проходить игры вместо человека

В современных играх распространены разные способы помощи в прохождении. Где-то можно отключить QTE, где-то набивать комбо одной кнопкой, а нередко персонажи сами начинают подсказывать решения к головоломкам. В Sony пошли ещё дальше и запатентовали ИИ-помощника, который способен проходить сложные моменты в играх вместо живого геймера.

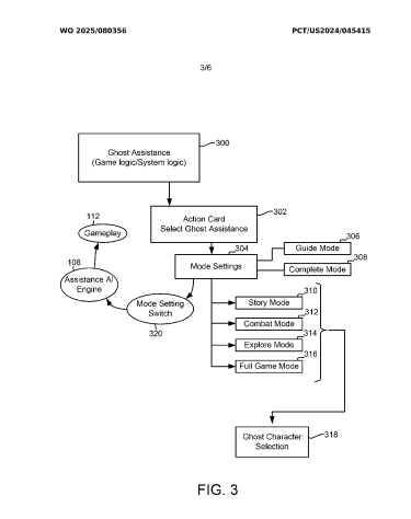
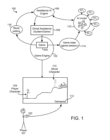
Как идея должна работать: в случае необходимости пользователь может вызвать «игрока-призрака» — ИИ-версию персонажа геймера — и тот пройдёт часть или весь уровень вместо человека.

Например, в Uncharted получится призвать ИИ-вариант Нейтана Дрейка, который продемонстрирует решение загадки в режиме проводника, чтобы человек сам повторил необходимые действия. В альтернативном режиме «призрак» Дрейка пропрыгает по балкам или решит головоломку самостоятельно.

В документе указано, что ИИ-помощник будет натренирован на записях геймплея, а не состоять из заранее записанных вариантов действий. Как подметили в VGC, зарегистрированный патент призрачного помощника развивает идеи «Справки по игре» — опции для PS5, которая содержит полезные видео или скриншоты и помогает продвинуться в игре.

Важно подчеркнуть, что Sony подала заявку на регистрацию патента ещё в сентябре 2024-го, но лишь на прошлой неделе Всемирная организация интеллектуальной собственности опубликовала международный отчёт о состоянии патента.

Пока неизвестно, когда игры на PlayStation начнут играть сами в себя. Есть вероятность, что Sony оформила патент просто для галочки, чтобы этого не сделал кто-то другой. Таких случаев накопилось достаточно (пример, второй пример и ещё пример).

ИИ-помощник — не первый эксперимент Sony в сфере нейросетей. Ранее в Интернет выложили ролик, в котором главная героиня серии Horizon отвечает на вопросы пользователя, касающиеся внутриигрового мира и геймплея, и болтает на отвлечённые темы.

По материалам

3 комментария к “Sony запатентовала ИИ-помощника, способного проходить игры вместо человека”

  1. Alanobet3, never heard of it ’til recently. Gave it a whirl and it’s alright. Nothing super flashy, but the odds aren’t bad. Depositing was easy enough, which is always a plus. Worth a look if you’re hunting for a new spot. Here’s the link alanobet3.

  2. HP88game, pretty cool site. I like how easy it is to navigate, and they have a bunch of games I’ve never seen before. Withdrawal process was smooth, so that’s a big plus for me. Check it out if you’re looking for something new via hp88game.

Добавить комментарий

Ваш адрес email не будет опубликован. Обязательные поля помечены *